
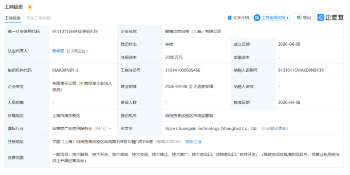
近日,企查查裸露,翱捷创芯科技(上海)有限公司(以下简称“翱捷创芯”)崇敬成立,注册成本2000万元,由翱捷科技股份有限公司(以下简称“翱捷科技”)全资持股。


据悉,新公司注册地址位于上海张江,与翱捷科技总部同处一幢楼。
翱捷科技成立于2015年4月,是一家提供无线通讯、超大边界芯片的平台型芯片企业,在北京、南京、深圳、合肥、大连、成齐、西安、好意思国、意大利等地设有多个研发和复旧中心。
公司领有稀缺的2G-5G全制式蜂窝基带技巧,涵盖信号惩办、高性能模拟/射频电路、通讯公约栈、低功耗电路联想等多个方面。该技巧壁垒极高,是芯片联想边界源头进、最难掌持的技巧之一,当今唯有少量数公司具备。在寰球范围内,公司的竞争者唯有高通、联发科、紫光展锐和华为海念念。
除此除外,公司还领有丰富的非蜂窝物联网技巧,包括多公约非蜂窝物联网芯片联想与供货才智,且具备提供超大边界高速SoC芯片定制及半导体IP授权就业才智。2022年,公司在上海证券走动所科创板上市,成为国内A股独一上市的基带芯片公司。
限制2025年底,翱捷科技累计芯片出货量逾越16亿颗,累计量产全新芯片逾越100颗,2018年至2025年营收年复合增长率高达64.84%,累计取得发明专利188项。
财务认知方面,公司2025年年报裸露,解释期内,公司杀青营业收入38.17亿元,同比增长12.73%;包摄于母公司扫数者的净利润为-3.94亿元,失掉额较上年同期减少2.99亿元;包摄于母公司扫数者的扣除颠倒常性损益的净利润为-5.86亿元,失掉额较上年同期减少1.21亿元。
翱捷科技暗示,解释期内公司不停完善产物布局、丰富产物矩阵,拓宽下流运用场景掩盖范围,芯片出货量同比杀青大幅增长,带动公司合座营业收入杀青不时增长。
此外,开云app公司解释期内不时保持大额研发干预,进一步长远产物技巧布局与智能SoC芯片平台成立,全年研发用度约13.02亿元,同比增长4.81%傍边。固然研发干预小幅增长,但受益于毛利边界同比培植、股份支付用度下跌、颠倒常性损益增多以及公司接纳的各项降费增效设施等多重积极身分影响,各项利润筹办较上年同期均杀青彰着改善。
分业务来看,公司前三季度功绩增长主要由蜂窝基带芯片驱动,该板块收入同比增长约25%,毛利总数同比增长逾越50%,盈利才智显耀改善。与此同期,芯片定制及IP 授权业务因形貌周期长、收入阐发滞后,前三季度收入同比下跌逾越60%,对合座营收增速酿成一定遭殃,但在手订单足够,后续跟着多个形貌的验收寄托,预测26 年收入将杀青大幅增长,为公司功绩增长助力。
在业务进展方面,2025年翱捷科技在多个关节边界取得了糟塌:4G八核智高东说念主机芯片已于上半年得手导入客户,首款客户机型已于畴昔三季度上市;首款6nm 5G 8核芯片已进入研发后期,预测2026年下半年运转客户导入;5G RedCap芯片ASR1901平台已进入边界化量产阶段,并已在印尼杀青5G FWA商用部署。2026年3月,公司在巴塞罗那寰宇迁移通讯大会上融合发布了多款新品,掩盖5G、RedCap、4G、AI SoC全域场景,展示了其生态级革命效果。
公司暗示,2026年将络续沉稳蜂窝物联网上风,鼓吹5G芯片生意化程度,包括鼓吹ASR1901平台边界化商用、研发下一代5G芯片平台等;鼓吹智高东说念主机SoC芯片商场布局,完善产物矩阵;拓展智能蛊惑SoC运用商场。在此布景下支持全资子公司翱捷创芯,体现出公司加速业务拓展和资源整合的意图。
从注册信息来看,新公司的计较范围侧重于技巧就业与技巧收支口,既可能承担翱捷科技部分技巧研发及践诺职能开云官方体育app,也可能为改日的海外化业务和新技巧生意化搭建孤苦平台。
od体育中国手机官网入口